
Productomschrijving
Ook in het kleinste kamertje in huis is hygiëne erg belangrijk. Daarom is het verstandig om direct na het gebruik van het toilet de handen te wassen. Daarvoor gebruik je normaal gesproken een toiletkraan.
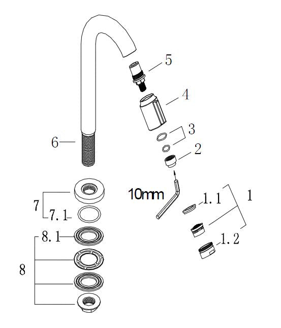
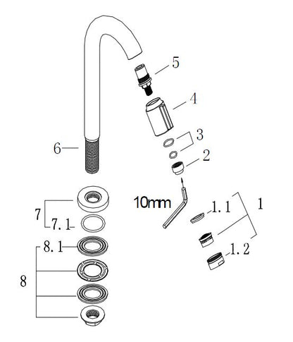
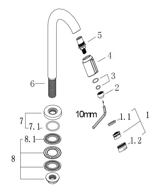
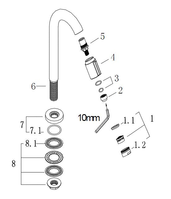
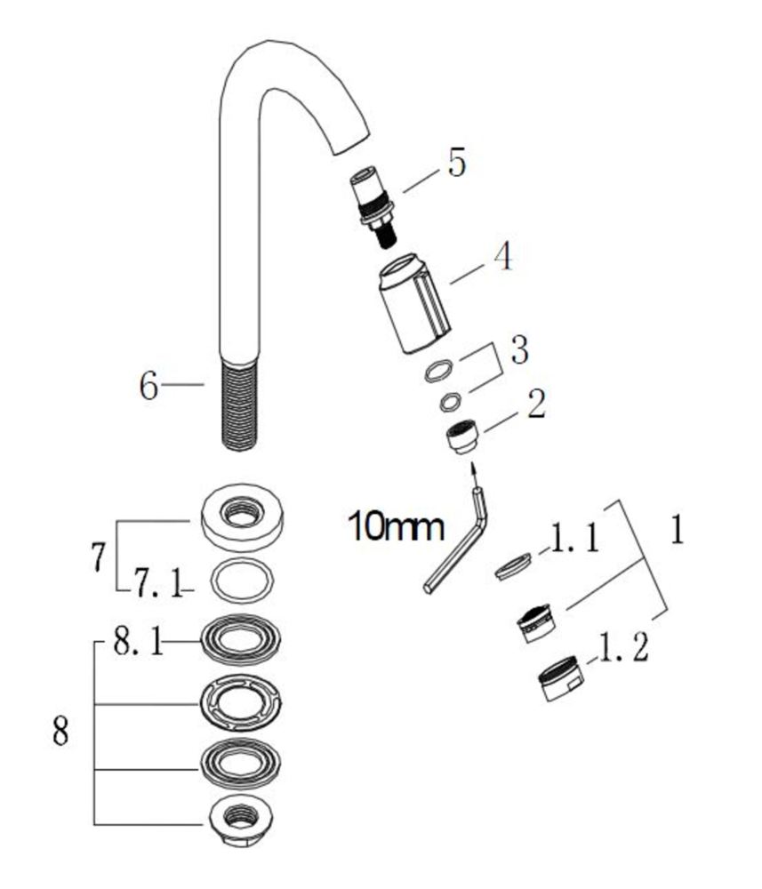
De Wiesbaden Sophia luxe toiletkraan 1/2'' chroom is een toiletkraan in de kleur chroom. De Wiesbaden kraan heeft een hoogte van 18.6 cm, de uitloop zit op 10 cm en de uitloop komt 11.5 cm ver. De Wiesbaden Sophia luxe toiletkraan 1/2'' chroom is een staand model en wordt bedient met een draaiknop. De kraan heeft een keramisch binnenwerk wat ervoor zorgt dat deze nauwelijks slijt, erg nauwkeurig werkt en een lange levensduur garandeert. Vanzelfsprekend heeft deze kraan de standaard ½” wateraansluiting.
De belangrijkste kenmerken:
- Kleur: chroom
- Montage wijze: staand
- Hoogte kraan: 18.6
- Hoogte uitloop: 10
- Lengte uitloop: 11.5
- Bediening: draaiknop
- Zelfsluitend:
Specificaties
| Hoogte uitloop | 10 |
|---|---|
| Kraan Hoogte | 18.6 |
| Lengte uitloop | 11.5 |
| Bediening | draaiknop |
| Aansluting | 1/2" |
| Kraan kleur | chroom |
| Merk | Wiesbaden |
| Montagewijze | staand |
| EAN Code | 8718053678511 |
Onze klantenservice
schiet je graag te hulp!
Heb je vragen of kunnen we je ergens anders bij helpen?
We horen graag van je
Bel ons